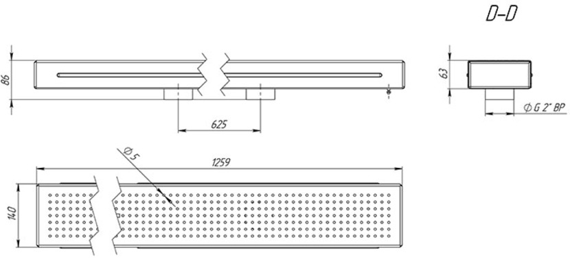
Гейзер 140х1250, плитка (AISI 316L)

Артикул: АС 04.141/L
Расход воздуха
60 мЗ/ч
Масса
5,93 кг
Объем
11 дмЗ
Количество патрубков
2 шт
49 500 руб.
Кол-во:
в корзину

Гейзер, или аэромассаж для бассейна, представляет собой стальное решетчатое плато. Изделие служит для генерации большого количества пузырьков воздуха. Гейзер рассеивает нагнетаемый воздух, в результате чего образуется множество пузырьков, делающих массажный эффект более мягким.  Они поднимаются из толщи воды и создают эффект бурления.

Вид обработки: шлифованная

Монтаж гейзера осуществляется в систему трубопровода, где желательно наличие фильтра очистки воздуха.

Компания Аквасектор оставляет за собой право вносить изменения в конструкцию изделия. 

  • Подходит для плиточного бассейна
  • Сталь AISI 316
не уверены в выборе? позвольте нам помочь
Open wizard